MLXG彻底败给RNG, 已经被限制高消费, 赔款金额高达2500万
MLXG彻底败给RNG,已经被限制高消费,赔款金额高达2500万,RNG这支队伍,如今已经走到了一个极其尴尬、甚至有些荒诞的阶段,德杯查无此人、联赛席位实际退出,却始终没有一纸正式公告,这种“默认消失”的状态,本身就说明了问题的复杂性,并不是不想说,而是说不了——债务问题像一团死结,任何公开表态,都可能牵一发动全身。

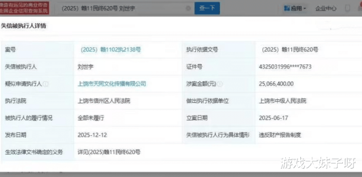
而最近被推到风口浪尖的,并不是俱乐部本身,而是昔日功勋打野MLXG,更讽刺的是,这一次站在对立面的,依旧是RNG,根据公开信息,RNG在11号申请对MLXG限制高消费,并且由于违反财产报告制度,香锅已经被列为失信被执行人,曾经的“莽夫打野”“世界第一奥拉夫”,如今却以这种方式再次和老东家产生交集,令人唏嘘。

从执行金额来看,2500万的欠款几乎是一个普通职业选手无法承受的数字,即便放在直播行业巅峰时期,这个数额也不是靠“勤奋直播”就能解决的,更何况现在的直播大环境早已降温,转平台、没大合同、流量下滑,这些现实问题叠加在一起,几乎堵死了 MLXG的还款路径,别说几年,哪怕直播十年,扣掉平台分成、税务和日常开销,也很难填上这个窟窿。

一旦成为失信被执行人,生活层面的影响会非常直接,高消费受限、出行受限,甚至收入一到账就可能被直接划扣,对于一个靠直播维生的人来说,这无疑是雪上加霜。努力开播,却看不到实质回报,心理压力可想而知。

更让人感慨的是,这件事也折射出整个RNG体系的崩塌,从俱乐部债务缠身、无声退出联赛,到与前选手的官司不断升级,这已经不是简单的“经营失败”,而是一连串结构性问题的集中爆发,曾经的豪门,最终变成了一个谁都不愿轻易触碰的烂摊子。

对MLXG来说,他当然要为自己的合同和行为承担法律后果,但站在旁观者角度,也很难不感到惋惜。巅峰时期为队伍拼命打架、留下无数名场面,如今却在赛场之外被现实反复击倒,这不是某一个人的悲剧,而是早期电竞行业野蛮生长留下的后遗症。

RNG的消失,或许只是时间问题,而香锅的困境,则更像是一个警示:当荣耀散去,合同、法律和现实,才是最终无法回避的对手,对此你们有什么想说的吗?
热点资讯
- 优雅阿姨在自家阳台, 享受午后阳光
- 德乒名将邱党谴责与王皓私人谈话被录音曝光: 绝不容忍公然侵犯
- 2025 年 7 月生肖开运指南! 12 生肖这样做让好运藏
- 常见影响八字格局层次的因素
- 当布鞋首富人设崩塌——宗庆后遗产风波中的时代镜像
- 1984年出生的人几岁能拿养老金
- 上海护士月入两万的可能性探讨
- 完美B站再掀反腐大浪, 网易暴雪各有大制作研发多年被砍
- 见证比亚迪又一历史时刻:巴西工厂首车下线,开启全球化新征程
- 酷! 恩佐社媒晒与世俱杯奖杯合照: 切尔西, 世界冠军
